Miles Cruice-Barnett Capstone: Solar Panel

My Capstone project was a joint effort with Jonas Bromley to create a solar powered charging station. The plan was to create a solar panel that would provide power to a charging station for phones and laptops inside the school. There were three main steps in making this plan come to fruition: one, making a solar panel; two, making a circuit to ensure that the battery does not get overcharged; and three, creating a station with charging cables in an accessible location.

My job was creating the solar panel. After getting the solar cells, I realized that there was more work to be done than I originally thought. The cells that I ordered needed to have tabbing wire soldered to each cell to wire them together. The biggest issue was that solar cells are extremely fragile and any moderate force would shatter them. Thus, creating the solar panel required a lot of patience; a lot of cells were broken by the end of the project. I spent a lot of time with my mentor and engineering teacher John Kamal problem solving and learning about electronics. He was a huge help in completing this project and kept me on the right track.

My partner Jonas completed the table that will be used as the station as well as the circuit that regulates the flow of electricity to the battery. All that is left to do as of now is mount the solar panel and place the charging station in a hallway.
20160115_111415
20160115_111415
Brand new solar cells
20160115_111722
20160115_111722
Breaking the brand new solar cells
IMG_3525
IMG_3525
Breaking lots of cells
IMG_3527
IMG_3527
Shattering even more cells
IMG_3537
IMG_3537
IMG_3534
IMG_3534
Finished solar panel on charging station table
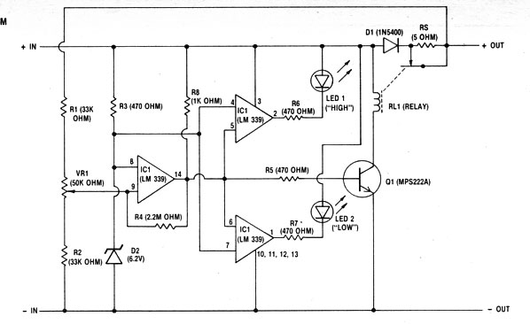
ChargeController2
ChargeController2
Circuit schematic
IMG_3539
IMG_3539
Finished circuit

Comments